<< Prev        Next >>

ID : 864

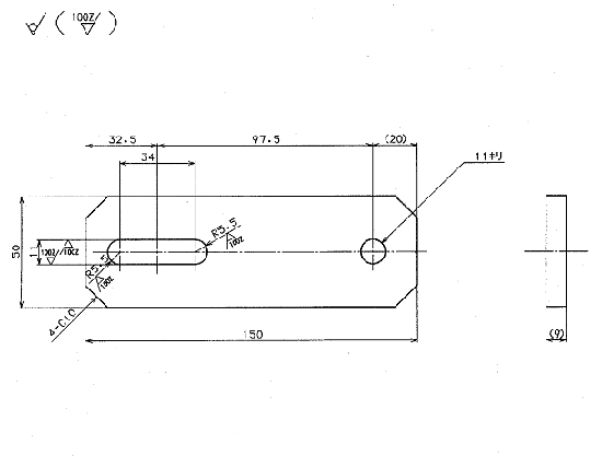
Holder Stopper Plate

NOTE 1) ALL CORNERS SHOULD BE FINE-CHAMFERED UNLESS OTHERWISE SPECIFIED.

ID : 864

<< Prev        Next >>