ID : 1682
Pendant Extension Cable
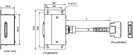
The pendant extension cable for teach pendant and mini-pendant is prepared as an option. The external view is shown in the figure below.
The maximum length of the cable should be 12 m when connecting the pendant extension cable. Do not connect two or more extension cables.
| Parts name | Parts number | Remark |
|---|---|---|
| Pendant Extension Cable | 410141-371* | L=4m |
| 410141-372* | L=8m | |
|
|
||
ID : 1682


