ID : 2460
Semiyearly Inspections
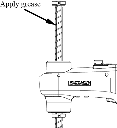
Apply the specified grease to the whole Z-axis shaft as shown below every six months.
| No. | Lubrication points | Lubricant part No. | Lubricant amount | Remarks |
|---|---|---|---|---|
| 1 | Z-axis shaft | 410971-036* | 1 to 2 g | Apply the grease to the whole Z-axis shaft. |
| 2 | 410971-040* | 1 to 2 g | Apply the grease to the whole Z-axis shaft. (Exclusive to H1 grease type) |
|
|
|
||||
- Move the shaft a few times, and then wipe off the grease accumulated in the upper and lower end.
- When applying grease for the bellows type, dust- & splash-proof type, cleanroom type, and H1 grease type robot, the operation differs depending on the installation type (floor-mount or overhead-mount type).
Floor-mount Remove the bellows fixing band, and then press down the lower bellows.

Overhead-mount Remove the bellows fixing band, and then pull up the upper bellows.

ID : 2460


