ID : 4573
Robot Unit Components and Motion Direction
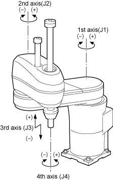
The figure below shows the names of the components of the robot unit and the rotation direction of each axis.
- The UL-Listed robot unit has the motor ON lamp on the 2nd arm.
- If any axes do not move, or move but only a little, the oil coating on the bearing of axes may not be formed sufficiently, it could leading to the early wear off.
To prevent early wear-off of bearings, move the target axes in sufficiently large angle for more than a few times a day.
Robot Unit Components and Rotation Direction (HM series)
![]() |
Robot Unit Components and Rotation Direction (HMS series)
![]() |
ID : 4573



