<< Prev        Next >>

ID : 7541

MC_MoveRotateH

To perform rotation motion with the approach vector as an axis.

Graphic expression FB category
Motion

Input and Output Variable

Variable name Data type Valid range Default Omission (*)
AxesGroup eRC_AxesGroup No
Robot Group
Specify a robot variable (structured type data : eRC_AxesGroup) of user-defined type.

Input Variable

Variable name Data type Valid range Default Omission (*)
Execute Boolean
  • TRUE : Start
  • FALSE : -
FALSE No
Execution start
When the variable is changed from FALSE to TRUE, this FB is executed.
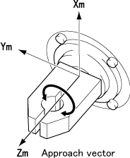
RotationAngle Real -180 to 180 0 Yes
Rotary angle
Specify the relative rotary angle around the approach vector. Unit is degree.
The current attitude is set to 0 degree.
Rotation in clockwise is the positive, and anticlockwise is the negative.
ExtAxPosition eRC_Joint Yes
Target position of extended-joint
Specify the target position of extended-joint in Joint coordinate (Joint type). Unit is degree.
For 4-axis robot: J5 to J8 are available.
For 6-axis robot: J7 to J8 are available.
For both 4-axis and 6-axis robots, if Joint settings of extended-joint is disabled, this variable is not available.

If the target value is entered in an element that does not exist in the controlled robot, the robot controller ignores the value.
For example, if any value is entered in variable "J5" to control a 6-axis robot, the robot controller controls the robot without using the value (variable J5).

Velocity Real 0.1 to 100.0 -1 Yes
Internal speed
Specify the internal speed used when moving to the target position. The unit is "%".
In addition to valid range values, -1 and 0 can be used.
-1 : The robot moves at the current internal speed.
0 : The minimum valid range value "0.1" is applied.
Acceleration Real 0.0001 to 100.0 -1 Yes
Internal acceleration
Specify the internal acceleration used when moving to the target position. The unit is "%".
In addition to valid range values, -1 and 0 can be used.
-1 : The robot moves at the current internal acceleration.
0 : The minimum valid range value "0.0001" is applied.
Deceleration Real 0.0001 to 100.0 -1 Yes
Internal deceleration
Specify the internal deceleration used when moving to the target position. The unit is "%". In addition to valid range values, -1 and 0 can be used.
-1 : The robot moves at the current internal deceleration.
0 : The minimum valid range value "0.0001" is applied.
BufferMode Integer 0, 1, 6, 7, 8, 9 -1 Yes
Buffer mode selection
Specify how to connect motions when this FB is executed when the robot is in motion.
The process flow of each buffer mode is as follows:
[0 : Aborting OP0]
  1. The robot decelerates at 100% deceleration.
  2. The robot stops (End motion).
  3. This FB motion is executed.
[1 : Buffered]
  1. The robot moves to the current target position.
  2. The robot stops (Encoder value check motion (Axes coordinate system)).
  3. This FB motion is executed.
[6 : Blending]
  1. The robot moves to the vicinity of the current target position.
  2. The robot executes the motion end method specified in the input Variable "TransitionMode".
  3. This FB motion is executed.
[7 : Aborting OP1]
  1. The robot decelerates at 100% deceleration.
  2. The robot does not stop (Pass motion).
  3. This FB motion is executed.
[8 : Aborting OP2]
  1. The robot decelerates at the current deceleration.
  2. The robot stops (End motion).
  3. This FB motion is executed.
[9 : Aborting OP3]
  1. The robot decelerates at the current deceleration.
  2. The robot does not stop (Pass motion).
  3. This FB motion is executed.
TransitionMode Integer 0, 3, 10, 11 -1 Yes
Transition mode selection
Specify how to end the current motion when "6 : Blending" is selected in the input variable "BufferMode". The end method for each value is as follows:
[0 : The robot stops (Encoder value check motion (Axes coordinate system))]
[3 : The robot does not stop (Pass motion of distance designation)]
If 3 is selected, specify a distance to start the pass motion in the input Variable "TransitionParameter".
[10 : The robot does not stop (Pass motion)]
[11 : The robot stops (Encoder value check motion (Cartesian coordinate system))]
TransitionParameter Integer 0 to 32767 -1 Yes
Target position
Specify a distance to start the pass motion when "3 : The robot does not stop (Pass motion of distance designation)" is selected in the input variable "TransitionMode". Unit is millimeter.
When the distance between the robot position and the current target position is below the value of this variable ("TransitionParameter"), the pass motion starts.

(*) : For some Variable, entries can be omitted.

  • Yes : Entry can be omitted.
  • No : Entry required always.

Output Variable

Variable name Data type / Description
Done Boolean
Execution completion confirmation
TRUE : This FB execution is completed.
FALSE : This FB execution is not completed.
NextActionPermit Boolean
Next motion permission
This variable indicates whether or not another FB is allowed to be executed.
TRUE : Execution allowed.
FALSE : Execution not allowed.
To connect this FB motion to the next FB motion, enter this variable ("NextActionPermit") in the input Variable "Execute" of the next FB.
Busy Boolean
Processing status of this FB
TRUE : Being executed.
FALSE : Not being executed.
Active Boolean
Robot control in progress
This Variable indicates whether or not this FB is controlling the robot.
TRUE : Controlling.
FALSE : Not controlling.
CommandAborted Boolean
Robot control aborted
This Variable indicates whether or not this FB was aborted while the robot was being controlled.
TRUE : Aborted.
FALSE : Not aborted.
Error Boolean
Error presence
TRUE : This FB ended abnormally.
FALSE : This FB ended successfully.
ErrorID Word
Error location
2800 (hexadecimal) : The error occurred in the PLC program.
2801 (hexadecimal) : The error occurred in the robot controller.
ErrorIDEx DWord
Error Code
This is a number to identify the error description.
For details, refer to "Error code list".

Function Description

Relative rotation motion is performed with the approach vector as an axis. The direction of the approach vector can be changed freely by specifying the tool coordinate definition as the following figure shows.

Attention

To execute this FB, FB with the FB category "Motion" needs to be made executable.
To make FB with the FB category "Motion" executable, use the FB "MC_Power".

ID : 7541

<< Prev        Next >>