ID : 4750
Engineering-design Notes for Robot Hands (HS/HSS)
Design a hand (end-effector) so that it will satisfy conditions (1) and (2) described below.
Strictly observe these engineering-design notes. Otherwise, the clamped sections of the robot unit will become loose, rattle or be out of position. In the worst case, the mechanical parts of the robot unit and the robot controller may be damaged.
Mass of Hand
The total mass of a hand or tool (including work-piece) should be less than the maximum allowable payload of the robot.
Be sure to include the mass of wirings and piping used for a hand or tool.
| Total mass of hand or tool ≤ Max. allowable payload (incl.work-piece). (Mass of payload that you have preset) |
Hand Center of Gravity
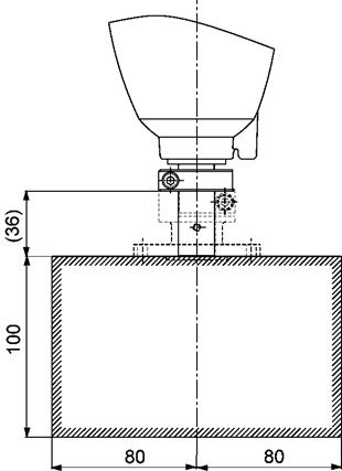
For HS series, the center of gravity of a hand or tool (including work-piece) should be located within the range specified in Figure below.
Unit: mm |
Moment of Inertia Around the T Axis
The moment of inertia of a hand or tool (including work-piece) around the T axis should be less than the maximum allowable moment of inertia around the T axis of the robot.
| Hand's or Tool's moment of inertia around the T axis ≤ Max. allowable moment of inertia (incl.work-piece). (refer to the graph below). |
Calculate the moment of inertia around the T axis according to the graph given below.
You may program the reduced ratio of the speed and acceleration individually within the range specified below. If you set the reduced ratio of the programmed speed only, the controller automatically calculates that of the acceleration according to the formula below.
Acceleration (%) = (Speed/100)2x100
<Application sample>
|
![]() |
ID : 4750
- Related Information
- Moment-of-inertia Formulas


Unit: mm