ID : 7435
MC_MoveJogJoint
To operate a robot with Joint mode from TP panel.
| Graphic expression | AOI category |
|---|---|
![]() |
Motion |
Input and Output Variable
| Variable name | Data type | Valid range | Conditions for Input and Output |
|---|---|---|---|
| AxesGroup | eRC_AxesGroup | - | |
|
|||
Input Variable
| Variable name | Data type | Valid range |
|---|---|---|
| Axis1_Plus | Boolean |
|
|
||
| Axis2_Plus | Boolean |
|
|
||
| Axis3_Plus | Boolean |
|
|
||
| Axis4_Plus | Boolean |
|
|
||
| Axis5_Plus | Boolean |
|
|
||
| Axis6_Plus | Boolean |
|
|
||
| Axis7_Plus | Boolean |
|
|
||
| Axis8_Plus | Boolean |
|
|
||
| Axis1_Minus | Boolean |
|
|
||
| Axis2_Minus | Boolean |
|
|
||
| Axis3_Minus | Boolean |
|
|
||
| Axis4_Minus | Boolean |
|
|
||
| Axis5_Minus | Boolean |
|
|
||
| Axis6_Minus | Boolean |
|
|
||
| Axis7_Minus | Boolean |
|
|
||
| Axis8_Minus | Boolean |
|
|
||
| Inching | Boolean |
|
|
||
| Axis_InchingResolution | Real | 0.0001 to 0.1 |
|
||
| XY_InchingResolution | Real | 0.01 to 1 |
|
||
Output Variable
| Variable name | Data type / Description |
|---|---|
| Status | Boolean |
|
|
| Error | Boolean |
|
|
| ErrorID | Integer |
|
|
| ErrorIDEx | DInt |
|
Function Description
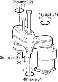
The following figure shows the robot motion in Joint mode.
| 6-axis robot | 4-axis robot |
|---|---|
![]() |
![]() |
| Drives each of the six Joints independently. | Drives each of the four Joints independently. |
Attention
To execute this AOI, AOI with the AOI category "Motion" needs to be made executable.
To make AOI with the AOI category "Motion" executable, use the AOI "MC_Power".
ID : 7435




