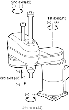
Names of Axes (Joints) of the Robot Unit
The figure below shows the names of the components of the robot unit and the rotation direction of each axis.
The UL-Listed robot unit has the motor ON lamp on the 2nd arm.
Robot Unit Components and Rotation Direction (HM series)
![]() |
Robot Unit Components and Rotation Direction (HMS series)
![]() |



