Design Example (High-Speed Transfer Equipment)
This section describes items below with example of the High-Speed transfer equipment.
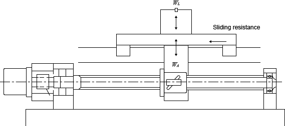
High-speed transfer equipment

Designing conditions
-
Table design specification
Term Symbol Description Remarks Table weight 
40kg Transferred object weight 
20kg (MAX) Max. stroke 
700mm Fast feed speed 
1000mm/sec (60m/min) Positioning accuracy - ±0.10/700mm (0.01mm/pulse) Repeat accuracy - ±0.010mm Required life 
25000hr (5 years) Slide surface (rolling) 
0.01 (Friction factor) Drive motor - AC motor (Nmax=3000rpm) -
Operation conditions


