Tool Mode (6-axis Robot)
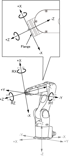
The Tool mode allows user to drive the robot arm in mechanical interface coordinates (whose origin is defined at the center of the flange surface) or in tool coordinates.
Pressing the X, Y, or Z key in the Tool mode moves the robot flange linearly along the X, Y, or Z axis, respectively, as shown below.
If the RX, RY, or RZ key is used in the Tool mode, the robot arm rotates on each axis of the tool coordinates.
The figure below shows the tool coordinates when TOOL0 is set. These are also called mechanical interface coordinates.
|
In 5-axis robots, the flange can keep a constant posture (3-dimensional flange direction) only when it is accurately in parallel with the X-Y plane of the robot (RX and RY are 0 degree).

