ID : 11096
Hand I/O Wiring
This section describes the details of the hand I/O in the following categories.
Wiring table
There are two types of Hand I/O cables; Hand I/O cable and Hand I/O flexible cable. The terminal number and line color combination is different between these cables.
Hand I/O cable
The following shows the correspondence table of the hand I/O cable terminal number and the line color.
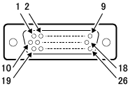
|
Terminal number of connector (viewed from the connector mating face) |
|
|---|
| Terminal Number | Name | Port No. | Wiring pair | Wire color | Mark (*1) |
|---|---|---|---|---|---|
| 1 | Hand output | 64 | Pair | Orange | Red 1 point |
| 11 | 65 | Black 1 point | |||
| 20 | 66 | Pair | Gray | Black 1 point | |
| 2 | 67 | Red 1 point | |||
| 12 | 68 | Pair | Orange | Red 3 point | |
| 21 | 69 | Black 3 point | |||
| 3 | 70 | Pair | White | Red 1 point | |
| 13 | 71 | Black 1 point | |||
| 22 | 72 | Pair | Yellow | Black 1 point | |
| 4 | 73 | Red 1 point | |||
| 14 | 74 | Pair | Gray | Red 3 point | |
| 23 | 75 | Black 3 point | |||
| 5 | Hand input | 48 | Pair | Pink | Red 1 point |
| 15 | 49 | Black 1 point | |||
| 24 | 50 | Pair | Orange | Black 2 point | |
| 6 | 51 | Red 2 point | |||
| 16 | 52 | Pair | White | Red 3 point | |
| 25 | 53 | Black 3 point | |||
| 7 | 54 | Pair | Gray | Red 2 point | |
| 17 | 55 | Black 2 point | |||
| 26 | 56 | Pair | White | Black 2 point | |
| 8 | 57 | Red 2 point | |||
| 18 | 58 | Pair | Yellow | Black 2 point | |
| 9 | 59 | Red 2 point | |||
| 10 | Power output(+24 VDC) | - | Pair | Pink | Red 2 point |
| 19 | Power output(+0 VDC) | - | Black 2 point |
*1 : For about the pitch size [mm] of the cable mark, refer to the followings.
- Mark 1 point

- Mark 2 point

- Mark 3 point

Hand I/O flexible cable
The following shows the correspondence table of the terminal number and the line color of the hand I/O flexible cable.
Terminal number of connector (viewed from the connector mating face) |
|
|---|
| Terminal Number | Name | Port No. | Wiring pair | Wire color |
|---|---|---|---|---|
| 1 | Hand output | 64 | Pair | Blue |
| 11 | 65 | White | ||
| 20 | 66 | Pair | Brown | |
| 2 | 67 | Yellow | ||
| 12 | 68 | Pair | Blue | |
| 21 | 69 | Black | ||
| 3 | 70 | Pair | Green | |
| 13 | 71 | Black | ||
| 22 | 72 | Pair | Gray | |
| 4 | 73 | Red | ||
| 14 | 74 | Pair | Yellow | |
| 23 | 75 | Gray | ||
| 5 | Hand input | 48 | Pair | Violet |
| 15 | 49 | Orange | ||
| 24 | 50 | Pair | Brown | |
| 6 | 51 | Blue | ||
| 16 | 52 | Pair | Green | |
| 25 | 53 | Orange | ||
| 7 | 54 | Pair | Yellow | |
| 17 | 55 | Black | ||
| 26 | 56 | Pair | Gray | |
| 8 | 57 | Green | ||
| 18 | 58 | Pair | Orange | |
| 9 | 59 | Red | ||
| 10 | Power output(+24 VDC) | - | Pair | Violet |
| 19 | Power output(+0 VDC) | - | White |
Circuit diagram

ID : 11096


