ID : 10210
Hand I/O Wiring
This section describes the details of the Hand I/O in the following categories.
Wiring Table
Hand I/O cables have different terminal numbers and line color combinations for "standard" and "flexible".
Hand I/O Cable
The following shows the correspondence table of the Hand I/O cable terminal number and the line color.
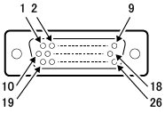
| Terminal number of connector (viewed from the connector mating face) |
|
|---|
| Terminal number | Name | Port number | Wiring pair | Line color | cable mark(*1) |
|---|---|---|---|---|---|
| 1 | Hand output | 64 | Pair | orange | 1 red point |
| 11 | 65 | 1 black point | |||
| 20 | 66 | Pair | gray | 1 black point | |
| 2 | 67 | 1 red point | |||
| 12 | 68 | Pair | orange | 3 red points | |
| 21 | 69 | 3 black points | |||
| 3 | 70 | Pair | white | 1 red point | |
| 13 | 71 | 1 black point | |||
| 22 | 72 | Pair | yellow | 1 black point | |
| 4 | 73 | 1 red point | |||
| 14 | 74 | Pair | gray | 3 red points | |
| 23 | 75 | 3 black points | |||
| 5 | Hand input | 48 | Pair | pink | 1 red point |
| 15 | 49 | 1 black point | |||
| 24 | 50 | Pair | orange | 2 black points | |
| 6 | 51 | 2 red points | |||
| 16 | 52 | Pair | white | 3 red points | |
| 25 | 53 | 3 black points | |||
| 7 | 54 | Pair | gray | 2 red points | |
| 17 | 55 | 2 black points | |||
| 26 | 56 | Pair | white | 2 black points | |
| 8 | 57 | 2 red points | |||
| 18 | 58 | Pair | yellow | 2 black points | |
| 9 | 59 | 2 red points | |||
| 10 | Power output (+24 VDC) |
- | Pair | pink | 2 red points |
| 19 | Power output (+0 VDC) |
- | 2 black points |
*1: Refer to the following for the pitch dimension [mm] of the cable mark.
- 1 mark

- 2 mark

- 3 mark

Hand I/O Flexible Cable
The following shows the correspondence table of the Hand I/O flexible cable terminal number and the line color.
|
Terminal number of connector (viewed from the connector mating face) |
|
|---|
| Terminal number | Name | Port number | Wiring pair | Line color |
|---|---|---|---|---|
| 1 | Hand output | 64 | Pair | blue |
| 11 | 65 | white | ||
| 20 | 66 | Pair | brown | |
| 2 | 67 | yellow | ||
| 12 | 68 | Pair | blue | |
| 21 | 69 | black | ||
| 3 | 70 | Pair | green | |
| 13 | 71 | black | ||
| 22 | 72 | Pair | gray | |
| 4 | 73 | red | ||
| 14 | 74 | Pair | yellow | |
| 23 | 75 | gray | ||
| 5 | Hand input | 48 | Pair | purple |
| 15 | 49 | orange | ||
| 24 | 50 | Pair | brown | |
| 6 | 51 | blue | ||
| 16 | 52 | Pair | green | |
| 25 | 53 | orange | ||
| 7 | 54 | Pair | yellow | |
| 17 | 55 | black | ||
| 26 | 56 | Pair | gray | |
| 8 | 57 | green | ||
| 18 | 58 | Pair | orange | |
| 9 | 59 | red | ||
| 10 | Power output (+24 VDC) |
- | Pair | purple |
| 19 | Power output (+0 VDC) |
- | white |
Circuit Diagram

ID : 10210


